Q41F-10S法兰塑料球阀概述:
使用范围有结构特点: 适用于带腐蚀性介质的输送过程的截流,
根据不同材质温度-14℃~100℃、-40℃~140℃。 全部零件采用RPP或PVDF注塑件组装成型,
耐腐蚀性能优良。 密封圈采用F4。耐腐性能优异,延长使用寿命。转动灵活、使用方便。
整体式球阀泄漏点少,强度高,连接式球阀装拆方便。 球阀的安装使用: 两端法兰与管路连接时,
要均匀拧紧螺栓,防止法兰变形造成泄漏。 顺时针方向旋转手柄为关闭,反之为开启。
只可作断流、通流,不宜有流量调节。 含硬颗粒液体容易使球表面划伤。
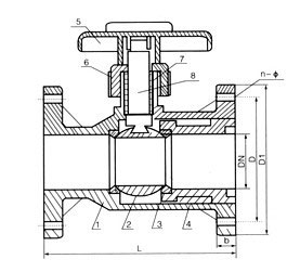
法兰塑料球阀零件材质表:
| NO |
名称 |
材质 |
| 1 |
阀体 |
FRPP、PVDF、CPVC |
| 2 |
球 |
FRPP、PVDF、CPVC |
| 3 |
密封圈 |
PTER〈F4〉 |
| 4 |
内塞 |
FRPP、PVDF、CPVC |
| 5 |
手柄 |
ABS |
| 6 |
压紧螺母 |
FRPP、PVDF、CPVC |
| 7 |
密封 |
PTER〈F4〉 |
| 8 |
阀杆 |
FRPP、PVDF、CPVC |

HG 、JIS 、DIN、 ANSI、 外形对照表(HG20592-94)
| DN |
D1 |
D |
L |
d |
n |
¢ |
公称压力 |
| HG |
JIS |
DIN |
ANSI |
HG |
JIS |
DIN |
ANSI |
HG |
JIS |
DIN |
ANSI |
PVDF |
RPP |
| 15 |
95 |
65 |
70 |
65 |
60 |
100 |
14 |
4 |
4 |
4 |
4 |
14 |
15 |
14 |
16 |
1.2 |
1 |
| 20 |
105 |
75 |
75 |
75 |
70 |
120 |
16 |
4 |
4 |
4 |
4 |
14 |
15 |
14 |
16 |
1.2 |
1 |
| 25 |
115 |
85 |
90 |
85 |
80 |
140 |
16 |
4 |
4 |
4 |
4 |
14 |
19 |
14 |
16 |
1.2 |
1 |
| 32 |
135 |
100 |
|
|
|
160 |
16 |
4 |
|
|
|
18 |
|
|
|
1.2 |
1 |
| 40 |
145 |
110 |
105 |
110 |
98 |
165 |
16 |
4 |
4 |
4 |
4 |
18 |
19 |
18 |
16 |
1.2 |
1 |
| 50 |
160 |
125 |
120 |
125 |
120 |
180 |
18 |
4 |
4 |
4 |
4 |
18 |
19 |
18 |
19 |
1.2 |
1 |
| 65 |
180 |
145 |
140 |
145 |
140 |
220 |
22 |
4 |
4 |
4 |
4 |
18 |
19 |
18 |
14 |
1.2 |
1 |
| 80 |
195 |
160 |
150 |
160 |
152 |
250 |
25 |
4 |
8 |
8 |
4 |
18 |
19 |
18 |
14 |
1.2 |
1 |
| 100 |
215 |
160 |
175 |
180 |
190 |
280 |
25 |
8 |
8 |
8 |
8 |
18 |
19 |
18 |
19 |
1.2 |
1 |
| 125 |
245 |
210 |
210 |
210 |
216 |
320 |
30 |
8 |
8 |
8 |
8 |
18 |
23 |
18 |
22 |
1 |
0.8 |
| 150 |
280 |
240 |
240 |
240 |
240 |
360 |
30 |
8 |
8 |
8 |
8 |
23 |
23 |
23 |
22 |
1 |
0.8 |
| 200 |
335 |
295 |
295 |
295 |
298 |
400 |
35 |
8 |
12 |
8 |
8 |
23 |
23 |
23 |
22 |
0.8 |
0.8 |
| 250 |
395 |
350 |
355 |
350 |
362 |
500 |
38 |
12 |
12 |
12 |
12 |
23 |
23 |
23 |
22 |
0.8 |
0.6 |
| 300 |
455 |
400 |
400 |
400 |
432 |
600 |
40 |
12 |
16 |
12 |
12 |
23 |
25 |
23 |
25 |
0.8 |
0.5
|